

據國外媒體報道,特斯拉又推出了黑科技!近日,特斯拉透露了其最新的汽車新科技成果——新布線架構。該布線架構具有革命性的科技基礎,可以在制造汽車的過程中實現高度的自動化。特斯拉打算在即將推出的 Model Y和特斯拉皮卡車是采用這種“黑科技”。
據悉,特斯拉CEO馬斯克一直在追求汽車生產制造的高度自動化,特斯拉在制造Model 3的過程中也進行了很多的嘗試,嘗試采用更多的智能工業機器人。而特斯拉發現,在汽車生產制造高度自動化的過程中,汽車的布線架構是非常關鍵的影響因素。而為了促進自動化,特斯拉也一直在嘗試減少汽車中使用電纜的長度,以及讓工業機器人嘗試操作更多的電纜工作。但是長期的生產實踐表明,減少電纜和讓機器人學習如何布線不是解決問題的根本。
為此,特斯拉從Model 3的研發開始,就已經著手研究全新的汽車布線架構和汽車平臺。特斯拉從一開始希望把Model Y的電纜總數減少100米,到最終希望建立一個全新的布線架構,進行了多次試驗。
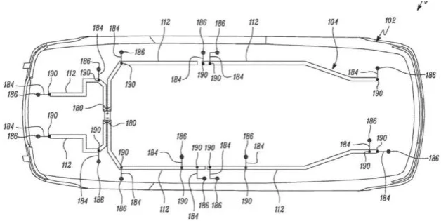
在最近公開并由媒體獲得的汽車布線架構新專利申請中,特斯拉揭示了這種新布線架構的第一個細節:“在這種新的布線架構中,子系統被封裝和定義在一個或多個組件中。例如,門組件可能包含一個控制多個設備的控制器(或集線器),如鎖定組件,照明組件,音頻組件等。除了減少所需布線的數量和長度外,還可以創建這些子組件。然后將子組件連接到布線架構骨架上,從而減少總裝配期間的裝配時間。注意:在總裝配之前就需要制造好子組件,僅在總裝配期間驗證子組件和子系統之間的連接性。”
簡單的說,就是要求制造商在總裝汽車之前,就把各種子組件制造好,總裝只是負責把多個子組件連接到設備控制器上。而特斯拉的專利申請只是簡單描述了線束系統,介紹了這些系統可以更容易地被工業機器人操縱。但實際上,特斯拉的這個布線架構的核心就是設備控制器和子組件的連接技術。設備控制器主要是與特斯拉的車載系統密切聯系,但是子組件的連接技術仍然是非常保密的技術。專家認為,子組件的連接技術可以讓工業機器人更快捷的識別子組件的連接電纜和連接位置,能夠對整個總裝流程進行快速的定位。
值得注意的是,特斯拉在申請此項布線機構專利的同時,還申請了新車用電纜的專利。特斯拉認為,“傳統汽車的布線采取的是零散組裝的解決方案。通常,需要工人將每個不同的電氣部件通過電纜連接到中央電池或電源。而每個組件接通電源后,就開始獨立的工作,如果需要進行智能化控制,還必須使用多個用于通信和信號的電纜。在這種情況下,單個車輛內線的總長度可能會非常多。這將造成工業機器人的生產效率下降,同時,這些不同左右的電纜對于數據傳輸性和電流安全性都不是最佳的搭配。“所以,特斯拉在對傳統布線架構進行革命性改變的同時,還推出了新型電纜。專家分析,這種新型電纜應該是智能化的多用電纜,既能傳輸電流,也能傳輸數據。
目前,特斯拉還尚未公布這項最新技術將在哪個工廠開始使用,只是透露將用于Model Y和特斯拉皮卡車的總裝,而特斯拉的這項新技術也將會對工業機器人的生產效率產生極大的影響。

電池網微信












