蘋果iWatch到底什么樣?它到底能否帶來向谷歌眼鏡或是iPhone那樣的革命性創新?這恐怕要蘋果真正發布它時才能見分曉。近日,在知乎網站上有發燒友根據蘋果現有專利分析了iWatch的形態外觀及特點。 特點一:雙穩態彈簧柔性屏 1 雙穩態彈簧柔性屏(圖片來自AppInsider) 這一句話要拆開理解,即雙穩態+柔
蘋果iWatch到底什么樣?它到底能否帶來向谷歌眼鏡或是iPhone那樣的革命性創新?這恐怕要蘋果真正發布它時才能見分曉。近日,在知乎網站上有發燒友根據蘋果現有專利分析了iWatch的形態外觀及特點。特點一:雙穩態彈簧柔性屏
1
|
雙穩態彈簧柔性屏(圖片來自AppInsider)
這一句話要拆開理解,即雙穩態+柔性屏幕。首先是柔性屏幕,這個不陌生,因為三星和LG這兩家公司,已相繼推出了搭載柔性屏的試驗性產品。雖然,彎曲屏幕的顯示問題已解決,但顯示質量以及生產成本還有待觀察。
雙穩態這個應該是重點,雖然沒有具體的專利定義,但在蘋果文件有提到是一個靈活的鋼帶。所以只能推測是擬合手腕佩戴的開合口,即在戴上或脫下手表時,可以保持穩定。通俗的來說,很像90年代風靡的卷尺。
1
|
“雙穩態”在形態和功能上很像現在的卷尺(圖片來自昵圖網)
此外,由于佩戴中會有一部分顯示屏被遮擋,因此系統會根據傳感器自動關閉那部分的顯示。這是個還是很人性化的設置。
特點二:透明太陽能面板
1
|
透明太陽能面板(圖片來自AppInsider)
智能穿戴設備,目前遇到的最大障礙是電池續航問題。蘋果對于iWatch的設計當然也會考慮這些。因此蘋果申請了一項名為“觸控傳感器和太陽能電池集成組件”的專利。該專利描述為:一種可以在類似媒體播放器或手機等電子設備上直接將太陽能電池集成在觸控面板上的技術。
從名稱以及專利解釋上看,到時的太陽能電池面板不僅可以收集能量,而且還可以當做觸摸屏使用。不過不知道這充電效率到底怎樣。
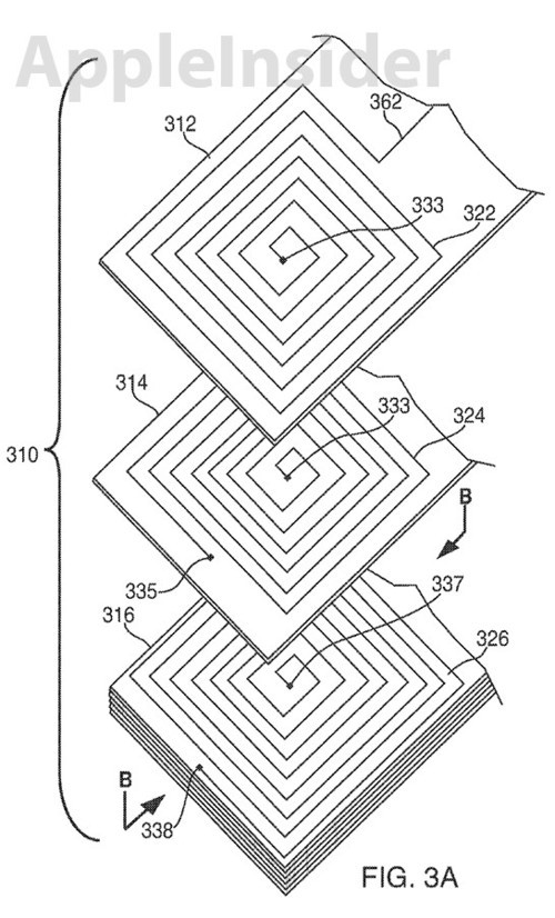
特點三:搖動充電
1
|
搖動充電(圖片來自AppInsider)
不同于傳統的銅線圈固定磁鐵的發電模式,蘋果這項新技術將使用活動的磁鐵在帶有印刷線圈的電路板周圍活動,造成電動勢或電壓,通過線圈達到發電的目的。對于這項專利,蘋果表示,將會面向iPod和iPhone提供,不過就目前情況看,這兩款設備的耗電量是遠遠大于上述電磁系統的發電量,所以在iWatch首先嘗試是很有可能的。
最后,還要聲明一點,這是根據蘋果在美國專利與商標局中申請的有關專利,然后推測iWatch形態和特點的文章。如果iWatch發布后真會采用上述專利,那么它定會成為蘋果下一個技術標桿。
0
|
傳說中的iWatch(圖片來自AppInsider)
此外,還有消息傳出,蘋果iWatch將有望具備弧形顯示屏、太陽能電池多點觸控板和“搖動充電”等先進技術,而且像藍牙,Wifi,虛擬鍵盤,陀螺儀,加速度傳感器,也會支持。

電池網微信












