12月22日,五礦稀土公告稱,公司接到中國五礦通知,經國務院國資委研究并報國務院批準,同意中鋁集團、中國五礦、贛州市人民政府等進行相關稀土資產的戰略性重組,新設由國務院國資委控股的新公司。

五礦稀土

圖片來源:五礦稀土

據此前彭博NEF的數據,中國控制著全球三分之二的稀土開采和85%的稀土精煉,是世界上稀土資源最豐富的國家,素有“稀土王國”之稱。但是,稀土行業在早些年非法開采嚴重,價值利潤不匹配,導致了稀土資源的嚴重浪費,之后便由工信部牽頭兼并重組,形成了以包鋼集團、中鋁集團、中國五礦、廣東稀土、贛州稀土和廈門鎢業等6家企業為主導的行業發展格局,并表示支持6家企業組建大型稀土集團,開辟新局面。

隨著新能源汽車銷量持續走高,新能源行業對于稀土需求越發高漲,稀土價格也一直大幅上漲,備受市場關注的稀土行業整合事項,也有了實質性的進展。

12月22日,五礦稀土(000831)公告稱,公司接到中國五礦通知,經國務院國資委研究并報國務院批準,同意中鋁集團、中國五礦、贛州市人民政府等進行相關稀土資產的戰略性重組,新設由國務院國資委控股的中國稀土集團。

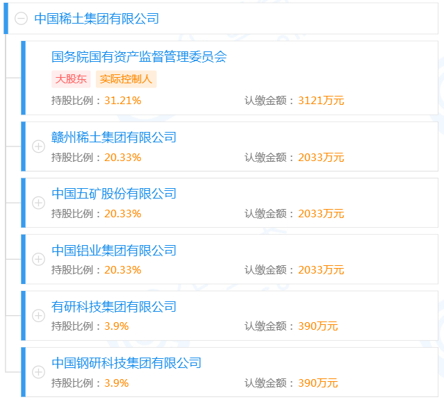
中國稀土集團股權結構圖

據企查查顯示,組建后的中國稀土集團屬于國務院國資委直接監管的股權多元化中央企業,注冊資本1億元,國務院國資委持有31.21%的股權,贛州稀土集團、中鋁集團、中國五礦分別持股20.33%,有研科技集團有限公司與中國鋼研科技集團有限公司分別持股3.9%。中鋁集團董事、黨組副書記敖宏擔任中國稀土集團法定代表人和董事長,五礦稀土董事長、董事劉雷云出任中國稀土集團總經理。

據悉,中鋁集團持有的中國稀有稀土股份有限公司的股權,中國五礦所屬企業持有的五礦稀土股份有限公司、五礦稀土集團有限公司的股權,以及贛州稀土集團及所屬企業持有的中國南方稀土集團有限公司、江西贛州稀有金屬交易所有限責任公司、贛州中藍稀土新材料科技有限公司的股權整體劃入中國稀土集團。

電池網了解到,中國五礦、中鋁集團以及贛州稀土集團都隸屬于國資委,新設中國稀土集團同樣隸屬于國資委,所以在重組方面較為便利,并且可以進一步提高對于稀土行業的把控,在全球新能源的大趨勢下,資源競爭的優勢會更加明顯,更有話語權。

值得關注的是,本次重組后,五礦稀土控股股東仍為五礦稀土集團有限公司,實際控制人將由中國五礦變更為中國稀土集團。

[責任編輯:張倩]

免責聲明:本文僅代表作者個人觀點,與電池網無關。其原創性以及文中陳述文字和內容未經本網證實,對本文以及其中全部或者部分內容、文字的真實性、完整性、及時性,本站不作任何保證或承諾,請讀者僅作參考,并請自行核實相關內容。涉及資本市場或上市公司內容也不構成任何投資建議,投資者據此操作,風險自擔!

凡本網注明?“來源:XXX(非電池網)”的作品,凡屬媒體采訪本網或本網協調的專家、企業家等資源的稿件,轉載目的在于傳遞行業更多的信息或觀點,并不代表本網贊同其觀點和對其真實性負責。

如因作品內容、版權和其它問題需要同本網聯系的,請在一周內進行,以便我們及時處理、刪除。電話:400-6197-660-2?郵箱:[email protected]

電池網微信
新能源
稀土
五礦稀土