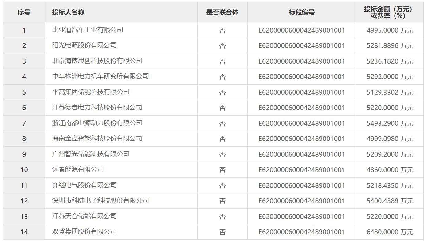
該項目采購規模為儲能系統設備22.5MW/90MWh,共吸引14家儲能集成商企業參與投標,投標單價區間為0.54~0.72元/Wh。

低至0.54元/Wh!這一儲能系統設備采購項目中標候選人公示

來自甘肅省公共資源交易平臺的信息顯示,近日,敦煌市沙州能源光伏發電有限責任公司260兆瓦光伏發電項目二期150兆瓦光伏發電配套儲能項目(敦煌120MW/480MWh共享儲能電站一期項目)儲能系統設備采購項目(22.5MW/90MWh)中標候選人公示。

第一中標候選人為陽光電源股份有限公司,中標價格為5281.8896萬元,單價約為0.587元/Wh。

第二中標候選人為浙江南都電源動力股份有限公司,中標價格為5493.29萬元,單價約為0.610元/Wh。

第三中標候選人為遠景能源有限公司,中標價格為4860萬元,單價約為0.54元/Wh。

低至0.54元/Wh!這一儲能系統設備采購項目中標候選人公示

開標信息顯示,該項目位于甘肅省敦煌市光電產業園區內,采購規模為儲能系統設備22.5MW/90MWh,共吸引14家儲能集成商企業參與投標,投標單價區間為0.54~0.72元/Wh,平均報價為0.5876元/Wh。

[責任編輯:林音]

免責聲明:本文僅代表作者個人觀點,與電池網無關。其原創性以及文中陳述文字和內容未經本網證實,對本文以及其中全部或者部分內容、文字的真實性、完整性、及時性,本站不作任何保證或承諾,請讀者僅作參考,并請自行核實相關內容。涉及資本市場或上市公司內容也不構成任何投資建議,投資者據此操作,風險自擔!

凡本網注明?“來源:XXX(非電池網)”的作品,凡屬媒體采訪本網或本網協調的專家、企業家等資源的稿件,轉載目的在于傳遞行業更多的信息或觀點,并不代表本網贊同其觀點和對其真實性負責。

如因作品內容、版權和其它問題需要同本網聯系的,請在一周內進行,以便我們及時處理、刪除。電話:400-6197-660-2?郵箱:[email protected]

電池網微信
鋰電池
新能源
儲能電池